Illuminated Rocker Switches (RadioShack) – Shock Risk (2009)
Check Your Product
According to the U.S. Consumer Product Safety Commission (CPSC)
Product
Illuminated Round Rocker Switches
Lot Codes / Batch Numbers
Not specified in CPSC notice. Check official source for details.
Product Images
Source: U.S. Consumer Product Safety Commission
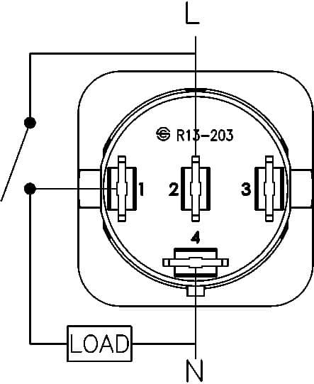
A manufacturer is recalling Illuminated Round Rocker Switches. The hazard is: The wiring diagram on the switch's package is incorrect. The Neutral and Line notation is reversed, . Based on CPSC recall notice.
Summary derived from CPSC notice
The following details were not provided by CPSC: UPC codes.
Reason for Recall
As stated by CPSC
This recall involves the RadioShack Illuminated Round Rocker Switch, catalog number 275-0021 and a date code of 01P09, or January 2009, and earlier. The switches are used as replacement on/off switches for electronics or for use in hobby projects. The wiring diagram, the catalog number, and manufacturing dates are located on the back of the product's packaging. In the date code MMPYY, MM is the month and YY is the year.
Reported concern (CPSC)
The wiring diagram on the switch's package is incorrect. The Neutral and Line notation is reversed, posing a shock hazard to consumers.
Recommended Action
Per CPSC guidance
Consumers should immediately stop using the switch and check their installation to make sure the Line or Hot conductor is connected to the switch rather than following the original instructions on the back of the package. A corrected wiring diagram is shown in the picture. New wiring instructions are available at www.radioshack.com/recalls, or by contacting Radio Shack.
Verify this information on the official source
For complete details and official instructions, check the U.S. Consumer Product Safety Commission (CPSC) directly.
View official CPSC recall noticePage updated: Jan 6, 2026